Product Summary
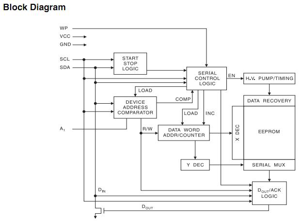
The AT24C1024W is a 2-wire Serial EEPROM. The AT24C1024W provides 1,048,576 bits of serial electrically erasable and programmable read only memory (EEPROM) organized as 131,072 words of 8 bits each. The device cascadable feature allows up to four devices to share a common two-wire bus. The AT24C1024W-SH25 is optimized for use in many industrial and commercial applications where low-power and low-voltage operation are essential. The AT24C1024W is available in space-saving 8-lead PDIP, 8-lead JEDEC SOIC, 8-lead EIAJ SOIC, 8-lead TSSOP, 8-ball dBGA2 and 8-lead Ultra Thin SAP packages.
Parametrics
AT24C1024W absolute maximum ratings: (1)Operating Temperature: -55 to +125℃; (2)Storage Temperature: -65 to +150℃; (3)Voltage on Any Pin with Respect to Ground: -1.0V to +7.0V; (4)Maximum Operating Voltage: 6.25V; (5)DC Output Current: 5.0 mA.
Features
AT24C1024W features: (1)Low-voltage Operation; (2)Internally Organized 131,072 × 8; (3)2-wire Serial Interface; (4)Schmitt Triggers, Filtered Inputs for Noise Suppression; (5)Bi-directional Data Transfer Protocol; (6)400 kHz (2.7V) and 1 MHz (5V) Clock Rate; (7)Write Protect Pin for Hardware and Software Data Protection; (8)256-byte Page Write Mode (Partial Page Writes Allowed); (9)Random and Sequential Read Modes; (10)Self-timed Write Cycle (5 ms Typical); (11)High Reliability; (12)8-lead PDIP, 8-lead EIAJ SOIC, 8-lead LAP and 8-ball dBGA Packages.
Diagrams

| Image | Part No | Mfg | Description | ![]() |
Pricing (USD) |
Quantity | ||||
|---|---|---|---|---|---|---|---|---|---|---|
![]() |
![]() AT24C1024W-10SI-2.7 |
![]() |
![]() IC EEPROM 1MBIT 1MHZ 8SOIC |
![]() Data Sheet |
![]() Negotiable |
|
||||
![]() |
![]() AT24C1024W-10SI-2.7 SL383 |
![]() |
![]() IC EEPROM 1MBIT 1MHZ 8SOIC |
![]() Data Sheet |
![]() Negotiable |
|
||||
![]() |
![]() AT24C1024W-10SU-2.7 |
![]() Atmel |
![]() EEPROM Serial EEPROM |
![]() Data Sheet |
![]() Negotiable |
|
||||
![]() |
![]() AT24C1024W-10SU-2.7 SL383 |
![]() |
![]() IC EEPROM 1MBIT 1MHZ 8SOIC |
![]() Data Sheet |
![]() Negotiable |
|
||||
(China (Mainland))










